Будьте всегда в курсе!
Узнавайте о скидках и акциях первым
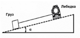
Выбирая лебедку тяговую, часто необходимо узнать значение тягового усилия для выполнения конкретной задачи. При вертикальном поднятии груза это легко — тяга должна быть больше веса груза. При движении груза с трением и уклоном расчет будет сложней. В...
Расточно-наплавочные станки - промышленное оборудование, предназначенное для наплавки и расточки изношенных отверстий, а также наплавки и проточки наружных поверхностей, расточка наплавка глухих отверстий.
В России станкостроение стало развиваться с XVIII в. В 1712 г. русский механик Андрей Нартов изобрел токарный станок с самоходным суппортом. Большой вклад в отечественное станкостроение внесли русские умельцы Яков Батищев, Павел Захава, построившие...