Таль ручная рычажная цепная Brano RZV 0,8/6 (0,8т/6м)
Описание
Таль Brano RZV 0.8 (вариант с роликовой цепью) может использоваться, главным образом в строительстве, горном деле и везде, где необходимо манипулировать с грузами.
- для подъема и перемещения грузов
- для натягивания ограждений, вытаскивания, выдергивания опор
- в качестве подъемных механизмов для рудничных канатных дорог
- любых монтажных и погрузочно-разгрузочных работ
- пригодны для использования на производствах тяжелой промышленности – рудники, металлургические заводы и т.п.
- возможность использования во взрывоопасной среде (маркировка NEXP)
Преимущества:
- простая массивная конструкция, мобильность
- надежность в тяжелых условиях (грязь, пыль)
- наличие предохранителя от перегрузки
- простота обслуживания
*Скорость подъема указана исходя из того, что скорость движения ручного рычага 48 циклов/мин.
** Указан вес тали с цепью длиной 1,5 м, увеличение массына каждый доп. метр цепи 1.5 кг.
Характеристики
|
Грузоподъемность, кг
|
800 |
|
Высота подъема, м
|
6 |
|
Тяговое усилие, кг
|
40 |
|
Тип тали
|
рычажная, цепная |
|
Тип привода
|
ручной |
|
Каретка перемещения
|
нет |
|
Скорость подъема, м/мин
|
1.27 |
|
Взрывозащищенное исполнение
|
опция |
|
Кратность полиспаста
|
1/1 |
|
Длина рычага, мм
|
560 |
|
Строительная высота, мм
|
327.0000 |
|
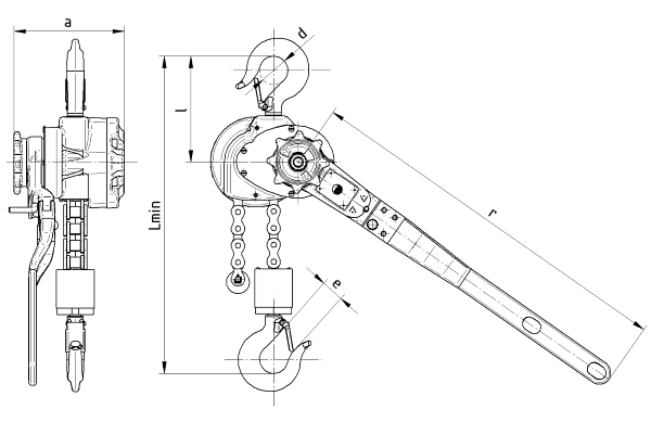
Габаритные размеры, мм
|
a-145, d-36, e мин-23.5, l-145, L мин-327, r-560 |
|
Масса, кг
|
10.2 |



