Лебедка ручная рычажная Завод ПО ЛР-1.2
Лебедка ЛР-1,2 предназначена для перемещения груза по горизонтальной или наклонной плоскости.
Подробнее
7 630 ₽
Наличие уточняйте
-
+
В корзину
Обращаем Ваше внимание на то, что приведенные цены, характеристики и фотографии товаров носят исключительно ознакомительный характер и не являются публичной офертой, определяемой пунктом 2 статьи 437 Гражданского кодекса Российской Федерации.
Описание
Лебедка ЛР-1,2 предназначена для перемещения груза по горизонтальной или наклонной плоскости.
Характеристики
|
Усилие на рукоятке, кгс
|
40 |
|
Тяговое усилие, кгс
|
600, 1200 |
|
Тип лебедки
|
ручная, рычажная |
|
Подача троса за ход рукоятки, мм
|
30, 7 |
|
Диаметр каната, мм
|
5.1 |
|
Канатоемкость, м
|
4 |
|
Перемещение груза, м
|
4, 1.9 |
|
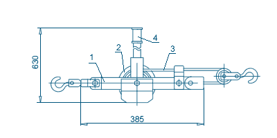
Габаритные размеры, мм
|
385x75x530 |
|
Масса, кг
|
4 |
- Лебедка в сборе
- Руководство по эксплуатации



