Лебедка барабанная ручная Завод ПО УТМ-0.8
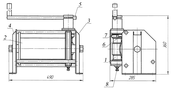
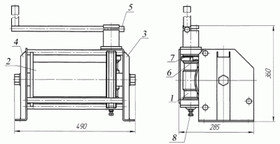
Лебедка ручная барабанная УТМ-0,8 (устройство тяговое монтажное) предназначено для протяжки кабелей в тоннелях и шахтах и для перемещения грузов.
Подробнее
0 ₽
Наличие уточняйте
Под заказ
Наши менеджеры обязательно свяжутся с вами и уточнят условия заказа
Обращаем Ваше внимание на то, что приведенные цены, характеристики и фотографии товаров носят исключительно ознакомительный характер и не являются публичной офертой, определяемой пунктом 2 статьи 437 Гражданского кодекса Российской Федерации.
Описание
Лебедка ручная барабанная УТМ-0,8 (устройство тяговое монтажное) предназначено для протяжки кабелей в тоннелях и шахтах и для перемещения грузов.
Характеристики
|
Усилие на рукоятке, кгс
|
20 |
|
Тяговое усилие, кгс
|
800 |
|
Тип лебедки
|
барабанная, ручная |
|
Диаметр каната, мм
|
7.6 |
|
Канатоемкость, м
|
50 |
|
Габаритные размеры, мм
|
см. схему |
|
Масса, кг
|
32 |
| Диаметр каната, мм | Максимальное тяговое усилие, кг | Число слоев | Расчетная канатоемкость |
| 4,1 | 300 | 5 | 160 |
| 4,5 | 350 | 4 | 100 |
| 5,6 | 550 | 4 | 105 |
| 6,2 | 700 | 3 | 60 |
| 7,6 | 800 | 3 | 50 |



