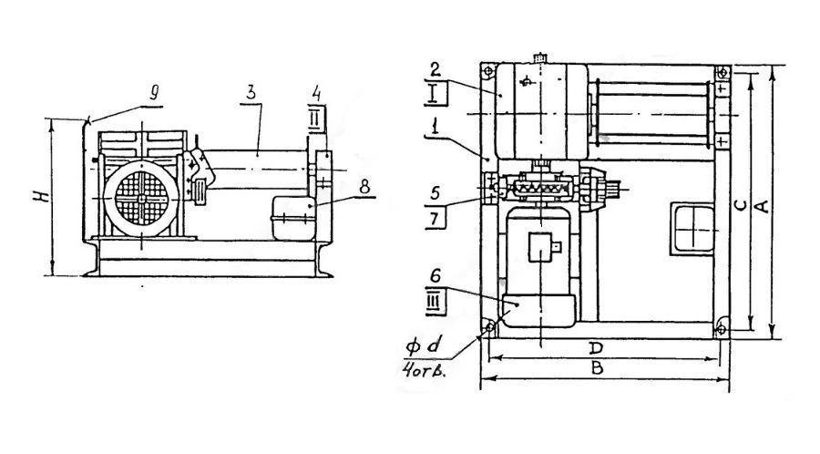
Лебедка монтажная электрическая Завод ПО ЛМЧ-0.25
Лебедка электрическая монтажная ЛМЧ-0.25 предназначена для производства подъемно - транспортных операций при строительных, монтажных и других работах
Лебедка не предназначена для подъема людей.
Лебедка электрическая предназначена для работы в следующих условиях:
- окружающая среда - невзрывоопасная;
- температура окружающей среды от плюс 40 до минус 40°С;
- рабочее положение - крепление на горизонтальной площадке;
- режим работы - легкий;
Подробнее
42 030 ₽
Наличие уточняйте
-
+
В корзину
Обращаем Ваше внимание на то, что приведенные цены, характеристики и фотографии товаров носят исключительно ознакомительный характер и не являются публичной офертой, определяемой пунктом 2 статьи 437 Гражданского кодекса Российской Федерации.
Описание
Лебедка электрическая монтажная ЛМЧ-0.25 предназначена для производства подъемно - транспортных операций при строительных, монтажных и других работах
Лебедка не предназначена для подъема людей.
Лебедка электрическая предназначена для работы в следующих условиях:
- окружающая среда - невзрывоопасная;
- температура окружающей среды от плюс 40 до минус 40°С;
- рабочее положение - крепление на горизонтальной площадке;
- режим работы - легкий;
Характеристики
|
Тяговое усилие, кгс
|
250 |
|
Тип лебедки
|
монтажная, электрическая |
|
Скорость намотки, м/мин
|
12 |
|
Диаметр каната, мм
|
4.5 |
|
Диаметр барабана, мм
|
89 |
|
Канатоемкость, м
|
80 |
|
Мощность двигателя, кВт
|
1.1 |
|
Габаритные размеры, мм
|
580х580х340 |
|
Напряжение питания, В
|
1x220, 3x380 |
|
Масса, кг
|
70 |
Канат в комплект поставки не входит.
Возможно исполнение с 1-фазным электродвигателем 220В.



